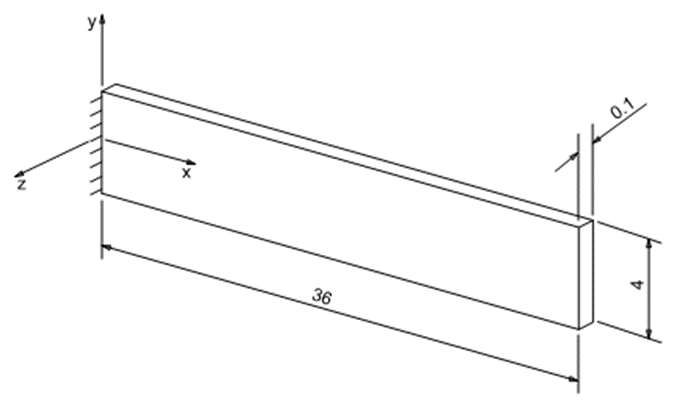
SS-V: 2010 In-plane Vibration of a Cantilever Plate
Test No. VM01 Find the fundamental frequency for in-plane vibration of a cantilevered plate.
Definition

To exclude out-of-plane vibration of the plate, its surface is constrained in the z-direction (Uz = 0).
The units are IPS.
The material properties are:
- Properties
- Value
- Modulus of Elasticity
- 3e+7 psi
- Poisson's Ratio
- 0.3
- Mass density
- 7.28e-4lb - s2/in4
Results
The following table summarizes the
frequency results.
Theory | SimSolid | % Difference | |
---|---|---|---|
Fundamental Frequency [Hz] | 101.33 | 100.31 | -1.01% |
1 Roark, R.J. and Young,
W.C., Formula for Stress and Strain, (New York:McGraw-Hill Book 6, 1982) pp.
576-578.